Controlul fortei gravitationale prin rezonanta undelor
Vom examina in acest articol, ca validare a conceptului, potentialul de modulare a metricii gravitationale prin rezonanta undelor electromagnetice cu analizarea potentialelor evenimente naturale.
Conversia graviton-foton de catre magnetari poate explica emisiile radio rapide si analiza fotonilor generati de efectul invers Gertsenshtein in magnetosfera planetelor joviene poate permite studiul undelor gravitationale de inalta frecventa din Universul timpuriu.
Civilizatia umana are o intelegere relativ competenta a controlului fenomenelor electromagnetice; astfel, capacitatea de a folosi rezonanta electromagnetica pentru a se cupla cu metrica spatiu-timp pentru inginerie geometrodinamica ne poate permite sa obtinem un nivel similar de competenta in controlul fortei gravitationale.
Ce sunt Emisiile Radio Rapide
Emisiile Radio Rapide sunt o clasa ciudata de fenomene de radioastronomie observate din surse necunoscute provenite din spatiul indepartat (majoritatea au origine extragalactica).
Astfel de emisii radio rapide (Fast Radio Bursts – FRB) sunt impulsuri radio tranzitorii cu o lungime cuprinsa intre o fractiune de milisecunda pana la 3 secunde, cauzate de un proces astrofizic de mare energie care nu este inca inteles.
Datorita distantelor cosmologice implicate si a puterii unor astfel de semnale atunci cand sunt primite aici pe Pamant, astronomii estimeaza ca FRB elibereaza in medie la fel de multa energie intr-o milisecunda cat emite Soarele in trei zile.
Posibilii progenitori ai emisiilor radio rapide nu sunt usor de explicat si au fost expuse mai multe teorii.
Exista motive intemeiate sa credem, iar dovezile sugereaza, ca acestea pot proveni de la magnetari, un tip de stele neutronice cu un camp magnetic peste limita Schwinger, suficient de mare pentru a provoca polarizarea in vid.
Un magnetar este un tip de stea neutronica cu un camp magnetic extrem de puternic. Dezintegrarea campului magnetic alimenteaza emisia de radiatii electromagnetice de inalta energie, in special razele X si razele gamma.
S-a sugerat ca magnetarii sunt sursa emisiilor radio rapide (FRB), in special ca urmare a descoperirilor din 2020 de catre oamenii de stiinta care au folosit radiotelescopul Australian Square Kilometer Array Pathfinder (ASKAP).

Cu toate acestea, s-a remarcat, de asemenea, ca FRB-urile au tehnosemnaturi care pot indica origini artificiale, cum ar fi semnale de la o inteligenta extraterestra.
Multe teorii prezentate pentru a explica emisiile radio rapide implica evenimente astrofizice cum ar fi fuziunile dintre stelele neutronice, dar astfel de evenimente singulare nu pot explica o clasa de FRB care reapare periodic (unele cu presupusa tehnosemnatura a unui model) – FRB-urile repetate.
Asadar, teoriile originii magnetare sunt atragatoare, deoarece ofera un cadru explicativ pentru FRB-urile care se repeta, cum ar fi, de exemplu, emisia de maser sincroton din socurile magnetizate relativiste.
Modele teoretice privind conversia gravitationala
In 2022, echipa de cercetatori Kushwaha, Malik si Shankaranarayanan a descris un model teoretic in care emisiile radio rapide provin din conversia gravitationala in unde electromagnetice in jurul unor obiecte compacte extrem de masive cu intensitati extrem de puternice ale campului magnetic, cum ar fi magnetarii.
Cand undele gravitationale trec prin magnetosfera unor astfel de obiecte compacte, energia este convertita in unde electromagnetice printr-un proces cunoscut sub numele de efectul Gertsenshtein-Zel’dovich (efectul GZ).
Acesta este un efect in care radiatia electromagnetica care trece printr-un camp magnetic transversal poate fi transmutata in unde gravitationale (si invers) prin rezonanta undelor.
Dupa cum a aratat Gertsenshtein in 1961, un camp magnetic extern poate cataliza amestecul rezonant dintre starile gravitonului si fotonului intr-un mod analog cu oscilatiile neutrinilor.
S-a prezis de mult timp ca aceasta conversie foton-graviton va fi posibila in jurul tipurilor de stele neutronice, cum ar fi magnetarii.
Fizicianul rus Yakov Zel’dovich a subliniat ca mecanismul Gertsenshtein necesita coerenta intre undele gravitationale si cele electromagnetice.
Astfel, campul magnetic puternic din jurul unor astfel de stele neutronice – care genereaza flux de electroni si pozitroni din vid – se crede ca stinge o astfel de transmutare.
Acest lucru se datoreaza faptului ca propagarea undelor electromagnetice prin plasma de electroni-pozitroni in vid este scazuta in raport cu cea a undelor gravitationale, astfel incat orice potential de rezonanta a undelor este stins.
Cu toate acestea, in ciuda potentialului stingere de la polarizarea in vid (care a fost observata in jurul stelelor neutronice) odata cu reanalizarea recenta a caracteristicilor undelor gravitationale care traverseaza o magnetosfera pulsar de catre Kushwaha, Malik si Shankaranarayanan, s-a descoperit ca efectul GZ poate explica multe dintre proprietatile observate ale FRB-urilor repetate si nerepetate.
Daca acest model este corect, un astfel de pulsar progenitor ar emite in mod continuu atat radiatii dipol EM, cat si radiatii cvadrupol gravitationale pentru o perioada lunga de timp (foto).

Ingineria comunicatiilor cu unde gravitationale
Detectarea unei astfel de radiatii ar putea valida procesul GZ pentru productia FRB si, cel mai important, ar fi dovezi dintr-un proces natural care serveste ca dovada de concept pentru ingineria comunicatiilor cu unde gravitationale de inalta frecventa si alte tehnologii de control al gravitatiei.
Mai jos este reprezentata diagrama schematica a unui pulsar in care axa campului magnetic formeaza un unghi de χ cu axele de rotatie.
Desi efectul GZ este, in general, necunoscut de fizicieni si majoritatea propunerilor de inginerie geometrodinamica s-au concentrat pe utilizarea efectului Casimir pentru a genera o configuratie spatio-temporala warp-drive (precum metrica Alcubierre), potentialul de a pasi in era controlului gravitatiei cu dispozitive care genereaza undele gravitationale pentru studii de laborator si aplicatii tehnologice nu au trecut complet neobservate.
Un document de referinta neclasificat pentru informatiile de aparare dintr-un raport detaliat despre potentialul undelor gravitationale de inalta frecventa pentru comunicatii discuta despre modul in care undele de inalta frecventa ar putea, in principiu, sa transporte continut semnificativ de informatii fara absorbtie (spre deosebire de semnalele electromagnetice) si ca astfel de semnale gravitationale pot trece punct la punct sau punct la multipunct prin obiecte materiale fara atenuarea semnalului.
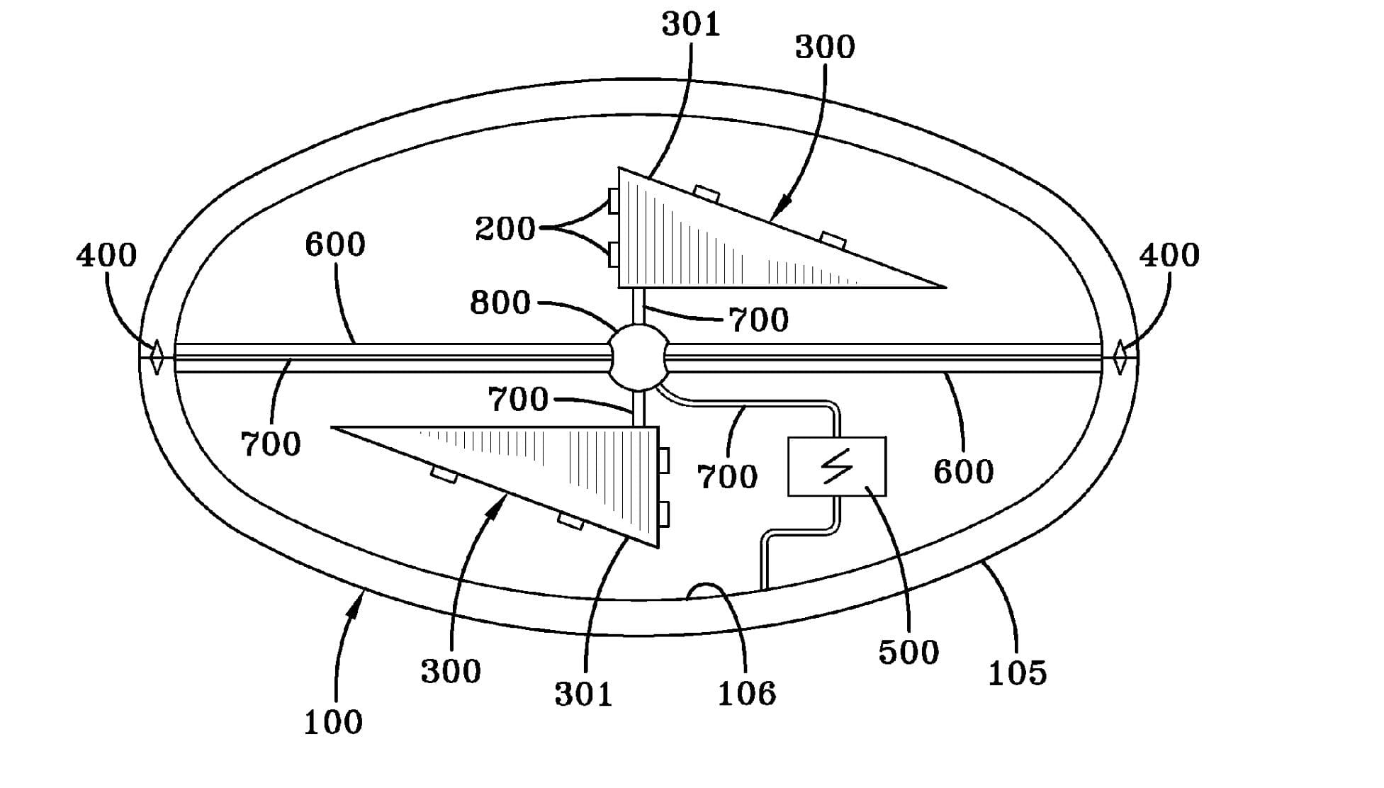
Inventatorul Salvatore Cezar Pais detine un brevet pentru un generator de unde gravitationale de inalta frecventa (foto).
Pais, cunoscut pentru alte brevete, inclusiv un design pentru un generator warp-drive, descrie o noua metoda de rezonanta vibrationala acustica pentru a genera propagarea undelor electromagnetice polarizate duble care provoaca fluctuatii ale campului gravitational pe masura ce trec una prin cealalta.
Prin modularea precisa a unui astfel de proces, teoretic pot fi generate semnale de unde gravitationale de inalta specificitate.
Observati schema detaliata a lui Pais a unui generator de unde gravitationale de inalta frecventa cu doua cavitati rezonante de vibratii acustice umplute cu gaz cu rotatie contrarotativa.
Suprafata exterioara a carcasei este incarcata electric si vibrata de emitatori de microunde pentru a genera campul electromagnetic initial, iar un camp EM secundar este generat prin energia acustica in cavitatile rezonante.
Cand cele doua campuri EM se propaga unul prin celalalt, Pais sustine ca aceasta conversie a energiei va transmuta unele unde in fluctuatii de propagare ale campului gravitational.

In loc de incheiere – avem capacitatea de a genera artificial unde gravitationale?
Desi capacitatea de a genera artificial unde gravitationale este inca doar teoretica, iar unii ar putea considera ca realizarea tehnologica a efectului GZ nu este fezabila, studierea modului in care undele electromagnetice pot fi transmutate in unde gravitationale sau conversia foton-graviton va oferi un nivel avansat. perspective asupra modului in care metrica gravitationala poate fi controlata prin modalitati electromagnetice pentru inginerie geometrodinamica – permitand potential warp-drive.
De aceea, propulsia chimica nu ne va duce la alte planete si sisteme stelare. Fizicianul Eric Weinstein a declarat recent ca „oricine nu este concentrat pe noua fizica nu ia in serios calatoriile interplanetare”.
In plus, exista aspectul astrofizic al valorificarii aparitiei naturale a efectului GZ pentru astronomia undelor gravitationale pentru a intelege mai bine cosmosul.
Echipa de cercetare Liu, Ren si Zhang a demonstrat recent fezabilitatea analizarii fotonilor produsi prin conversia inversa Gertsenshtein in magnetosfera planetelor joviene, precum Jupiter, pentru a studia fundalul undelor gravitationale si undele gravitationale de inalta frecventa ale universului timpuriu.
Poate ca prin astfel de studii astronomice, putem ajunge sa intelegem mai bine cum energia este interconvertita in mod natural intre fenomenele de unde electromagnetice si gravitationale, care, la nivel fundamental, sunt ambele doar o activitate de rezonanta a undelor din campul energetic cu punct zero.
Urmariti acest site – curiozitati stiinta – pentru a afla si alte lucruri noi si interesante despre universul in care traim!
Sursa: phys.org, resonancescience.org, nature.com, sciencedirect.com.
Acest articol a fost sustinut de cititori ca tine.
Misiunea noastra este sa oferim publicului stiri precise si captivante despre stiinta. Aceasta misiune nu a fost niciodata mai importanta decat este astazi.
Nu putem face, insa, acest lucru fara tine.
Sprijinul tau ne permite sa pastram continutul acestui blog gratuit si accesibil. Investeste in jurnalismul stiintific donand chiar astazi.


